Сверла по металлу HSCO DIN 1897 для точечной сварки
Предлагаем сверла по металлу HSCO DIN 1897 для точечной сварки
Направление вращения: правое
Применение: для сверления без заусенцев точечных сварных швов в металле, сплавах AlSi, для цветных и цветных металлов
Область применения: цветные металлы, сталь
Форма хвостовика: цилиндр
Материал: HSSE
Стандарт: DIN 1897
Направление резания: правое
Страна производства: Германия
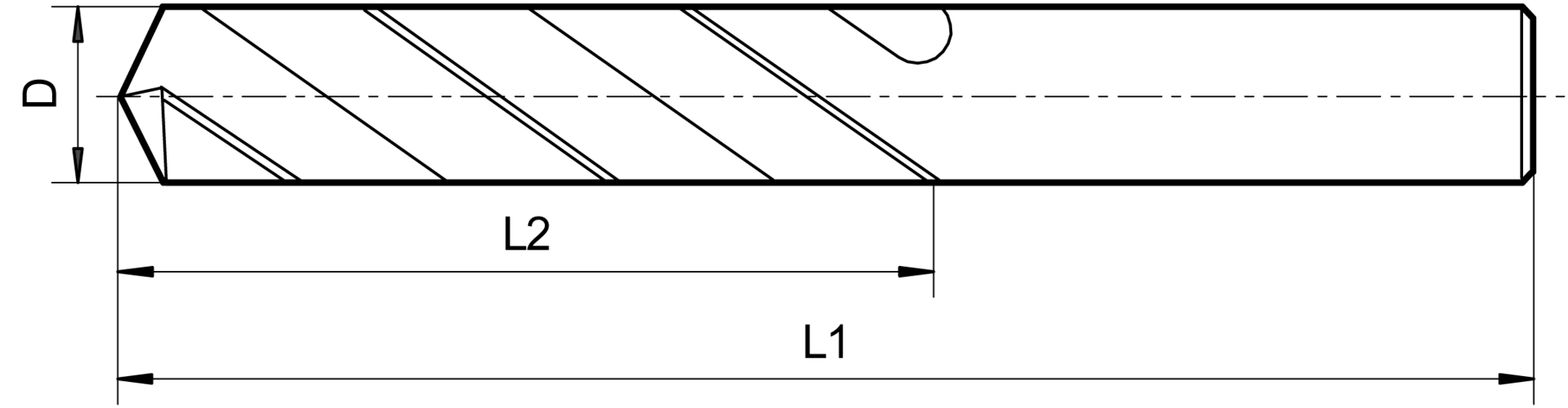
Таблица размеров:

| Артикул | D мм | L1 мм | L2 мм |
| HSCO 6 | 6 | 66 | 28 |
| HSCO 8 | 8 | 79 | 37 |
Если вы хотите купить сверла по металлу HSCO DIN 1897 для точечной сварки , вы можете:
Позвонить:
Ещё из раздела Сверла по металлу
Губки для низкого зажима, модель „Bulle" AMF № 6490Губки для низкого зажима, модель „Bulle" AMF № 6490 Улучшенная сталь, отпущенная с воронением. Упаковка: 2 в коробке в комплекте с крепежным винтом ISO 4762 (10.9), ... подробнее |

